СО

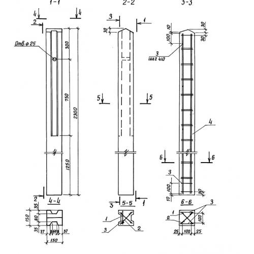
Чертеж изделия:
Характеристики изделия:
ПараметрЗначение
длина2300 мм
ширина150 мм
высота150 мм
вес120 кг
серияТП 501-7-014.91

СО Стойки ограждения по серии ТП 501-7-014.91.