ФЖ 18

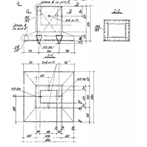
Чертеж изделия:
Характеристики изделия:
ПараметрЗначение
длина2500 мм
ширина2500 мм
высота1750 мм
масса9500 кг
нормативный документСерия 71159-С

ФЖ 18  Фундаменты колонн стаканного типа по Серии 71159-С.