БП 53

Чертеж изделия:
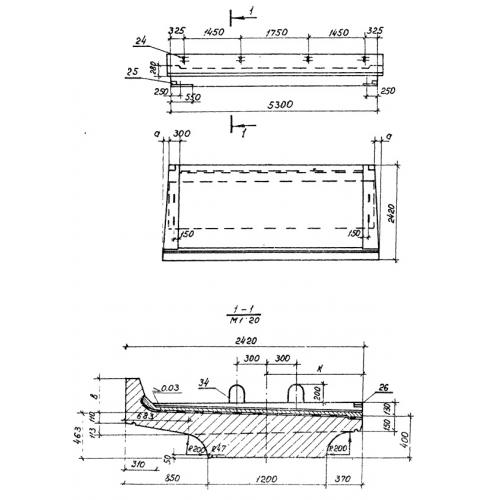
Характеристики изделия:
ПараметрЗначение
длина5300 мм
ширина2420 мм
высота1013 мм
вес14300 кг
Серия3.501.1-146

БП 53 Балки с пониженной строительной высотой по  Серии  3.501.1-146.