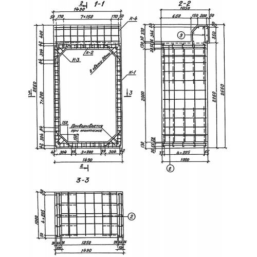
Блок №101

Чертеж изделия:
Характеристики изделия:
ПараметрЗначение
длина2660 мм
ширина1490 мм
высота1000 мм
вес2900 кг
серия3.501-104

Блок №101 Звенья оголовков по серии 3.501-104.