К 1
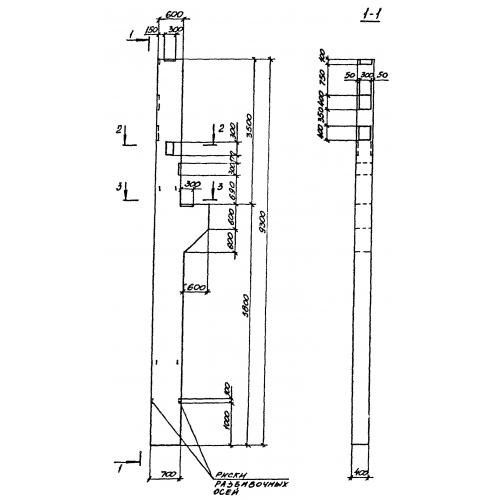
Характеристики изделия:
| Параметр | Значение |
|---|---|
| длина | 9300 мм |
| ширина | 400 мм |
| высота | 1300 мм |
| вес | 6750 кг |
| серия | 3.016.1-11 |
Цена:
Рассчитать стоимостьК 1 Колонны по серии 3.016.1-11.
| Параметр | Значение |
|---|---|
| длина | 9300 мм |
| ширина | 400 мм |
| высота | 1300 мм |
| вес | 6750 кг |
| серия | 3.016.1-11 |
К 1 Колонны по серии 3.016.1-11.
