ПССЛ 24.33.3,5-п

Чертеж изделия:
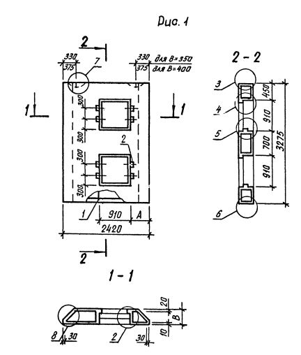
Характеристики изделия:
ПараметрЗначение
Длина2420 мм
Ширина350 мм
Высота3275 мм
Масса1910 кг
Нормативный документСерия 1.232.1-8

Стандарт изготовления изделия: Серия 1.232.1-8

Панель однослойная самонесущая ПССЛ 24.33.3,5-п (1.232.1-8) представляет собой прочную прямоугольную конструкцию, выполненную из легкобетонной смеси и стального внутреннего каркаса. Наружная поверхность строительного элемента обладает эстетичным декоративным слоем. Вертикальные грани наружного слоя запроектированы из условия устройства стыков, заделываемых герметиками. На нижней горизонтальной грани предусмотрена декомпрессионная полость. Конструкционными особенностями, как данной панели, так и всех аналогичных изделий, изготавливаемых по регламенту Серия 1.232.1-8, является наличие проемов для окон и дверей. 

Маркировка

1. ПССЛ - панель стеновая самонесущая для лестничных клеток;

2. 24 - длина в дециметрах;

3. 33 - высота в дециметрах;

4. 3,5 - толщина в дециметрах;

5. п - используется бетонная смесь на пористых заполнителях.