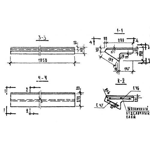
ЛСН 11-17 ступени лестничные

Чертеж изделия:
Характеристики изделия:
ПараметрЗначение
длина1050 мм
ширина290 мм
высота142 мм
масса63 кг
нормативный документСерия 1.155-1

ЛСН 11-17  Лестничные ступени  нижние фризовые Серия 1.155-1.