ПК 59.10

Чертеж изделия:
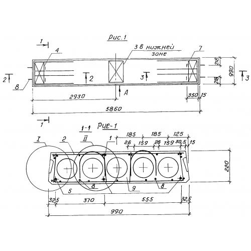
Характеристики изделия:
ПараметрЗначение
длина5860 мм
ширина990 мм
высота220 мм
вес1715 кг
серия1.141.1-40с

ПК 59.10 Круглопустотные плиты перекрытия высотой 220 мм по серии 1.141.1-40с.