ФСН 6
Характеристики изделия:
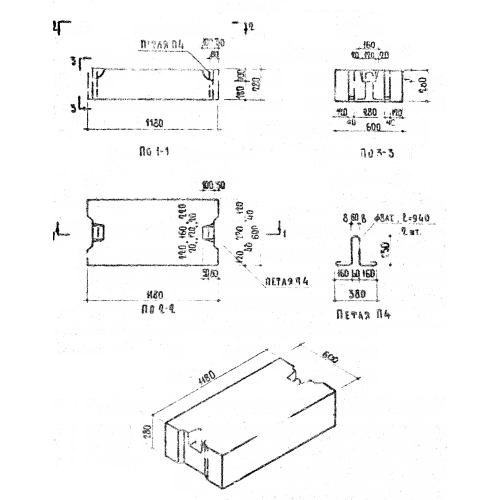
| Параметр | Значение |
|---|---|
| длина | 1180 мм |
| ширина | 600 мм |
| высота | 280 мм |
| масса | 460 кг |
| нормативный документ | Серия 1.116-1 |
Цена:
Рассчитать стоимостьФСН 6 Бетонные блоки фундамента сплошные Серия 1.116-1.
| Параметр | Значение |
|---|---|
| длина | 1180 мм |
| ширина | 600 мм |
| высота | 280 мм |
| масса | 460 кг |
| нормативный документ | Серия 1.116-1 |
ФСН 6 Бетонные блоки фундамента сплошные Серия 1.116-1.
