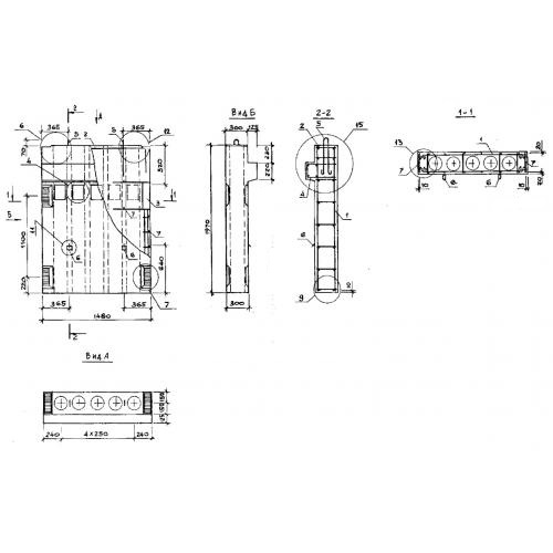
ВД 20-15-30 вентиляционные блоки

Чертеж изделия:
Характеристики изделия:
ПараметрЗначение
длина1480 мм
ширина425 мм
высота1970 мм
масса1560 кг
нормативный докментСерия 1.034.1-1/90

ВД 20-15-30  Вентблоки-диафрагмы жесткости Серия 1.034.1-1/90.