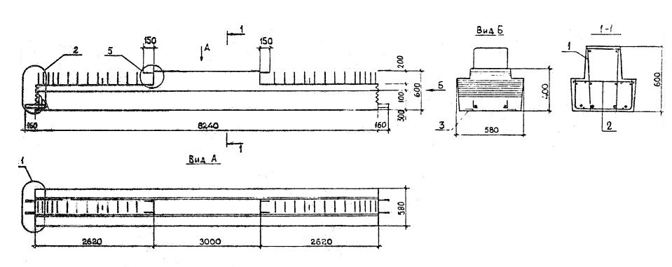
2Р 6

Чертеж изделия:
Характеристики изделия:
ПараметрЗначение
длина8560 мм
ширина580 мм
высота600 мм
масса4500 кг
нормативный документСерия 1.020.1-2с/89

2Р6  Ригели для двустороннего опирания плит  Серия 1.020.1-2с/89.