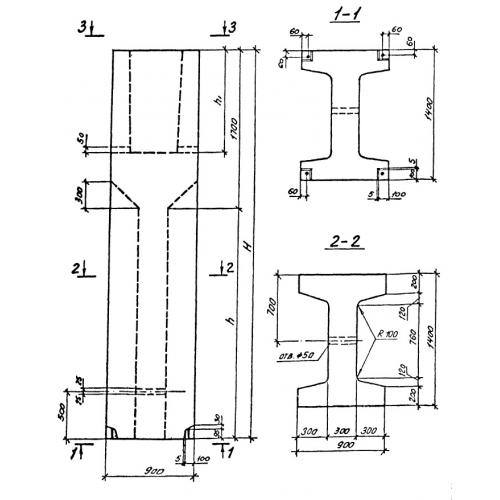
ВБ 9.14.39

Чертеж изделия:
Характеристики изделия:
ПараметрЗначение
длина900 мм
ширина1400 мм
высота3890 мм
вес8410 кг
серия0-22184

ВБ 9.14.39 Блоки-стаканы верхние по серии 0-221-84.